Запасные части ЧТЗ Запасные части ЧТЗ
Актобе
Например:
Актобе
Алдан
или
Выбрать автоматически
Актобе
Алдан
Алматы
Алчевск
Архангельск
Астана
Астрахань
Атырау
Баку
Балашиха
Барнаул
Белгород
Бердянск
Бишкек
Владивосток
Владикавказ
Воркута
Воронеж
Горловка
Грозный
Донецк
Екатеринбург
Иваново
Ижевск
Иркутск
Казань
Калининград
Каменск-Уральский
Караганда
Каховка
Кемерово
Киров
Комсомольск-на-Амуре
Костанай
Краснодар
Красноярск
Красный луч
Ленск
Луганск
Магадан
Магнитогорск
Макеевка
Махачкала
Мелитополь
Минск
Мирный (Якутия)
Москва
Мурманск
Нерюнгри
Нижневартовск
Нижний Новгород
Нижний Тагил
Новая каховка
Новокузнецк
Новосибирск
Новый Уренгой
Норильск
Ноябрьск
Нур-Султан
Омск
Оренбург
Ош
Павлодар
Пермь
Петрозаводск
Петропавловск
Петропавловск-Камчатский
Псков
Ростов-на-Дону
Салехард
Самара
Санкт-Петербург
Саратов
Севастополь
Семей
Симферополь
Сочи
Ставрополь
Сургут
Сыктывкар
Тараз
Ташкент
Токмак
Томск
Тында
Тюмень
Ульяновск
Усинск
Усть-Каменогорск
Уфа
Хабаровск
Ханты-Мансийск
Херсон
Челябинск
Чита
Шымкент
Экибастуз
Энергодар
Южно-Сахалинск
Якутск
Ваш город
Актобе
Войти
Запасные части к тракторам на одном сайте
+7 (932) 303-00-10
+7 (932) 303-00-10
г. Актобе, 41-й разъезд, д. 10а
Пн-Пт: 9:30-18:30 Cб-Вс: Выходной
Отправить заявку


Регулирование приводов управления дизелем и крановым оборудованием


/
с НДС 20%
Описание
Регулирование приводов рычага управления подачей топлива и педали управления подачей топлива смотреть в руководстве по эксплуатации «Тракторы Т10».

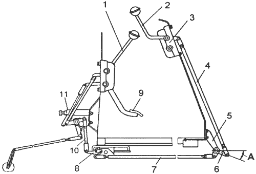
На трактор установлен измененный акселератор 11 (рис.5) с дополнительным рычагом для подсоединения тяги 10.

Для регулировки приводов дублирующего рычага управления подачей топлива установить рычаг 1 в положение «вверх до упора», рычаг 8 горизонтально, рычаг 6-на угол А, равный 25±3°, рычаг 2-«вверх до упора» и последовательно подсоединить тяги 4, 7, 10.

Управление дизелем
Рис. 5. Управление дизелем
1-рычаг управления приводом подачи топлива; 2-дублирующий рычаг управления приводом подачи топлива; 3-дублирующий блок управления; 4,7,10-тяга; 5-мостик; 6,8-рычаг; 9-педаль акселератора; 11-акселератор; А-угол 25±3°.

Расположение рычагов и педалей управления крановым оборудованием показано на рис. 6. Педаль муфты сцепления 2 установить на угол В (от 8 до 10°) и тягой 5 соединить с рычагом 6 блокировки коробки передач.

Управление редуктором лебедки и дублирующие органы управления трактором
Рис. 6. Управление редуктором лебедки и дублирующие органы управления трактором
1-рычаг управления реверсом лебедки; 2-педаль муфты сцепления; 3-педали тормоза лебедки; 4-механизм управления муфтами лебедки; 5-тяга; 6-рычаг валика блокировки коробки передач; 7-подшипник; 8-плита; 9, 10-мостик; В-угол 8... 10°

Для модификации трактора, поставляемого без управления редуктором лебедки, установлен только дублирующий привод управления муфтой сцепления. Узлы 1, 3, 4, 7, 9, 10 не установлены.
Регулирование приводов управления дизелем и крановым оборудованием