Запасные части ЧТЗ Запасные части ЧТЗ
Актобе
Например:
Актобе
Алдан
или
Выбрать автоматически
Актобе
Алдан
Алматы
Алчевск
Архангельск
Астана
Астрахань
Атырау
Баку
Балашиха
Барнаул
Белгород
Бердянск
Бишкек
Владивосток
Владикавказ
Воркута
Воронеж
Горловка
Грозный
Донецк
Екатеринбург
Иваново
Ижевск
Иркутск
Казань
Калининград
Каменск-Уральский
Караганда
Каховка
Кемерово
Киров
Комсомольск-на-Амуре
Костанай
Краснодар
Красноярск
Красный луч
Ленск
Луганск
Магадан
Магнитогорск
Макеевка
Махачкала
Мелитополь
Минск
Мирный (Якутия)
Москва
Мурманск
Нерюнгри
Нижневартовск
Нижний Новгород
Нижний Тагил
Новая каховка
Новокузнецк
Новосибирск
Новый Уренгой
Норильск
Ноябрьск
Нур-Султан
Омск
Оренбург
Ош
Павлодар
Пермь
Петрозаводск
Петропавловск
Петропавловск-Камчатский
Псков
Ростов-на-Дону
Салехард
Самара
Санкт-Петербург
Саратов
Севастополь
Семей
Симферополь
Сочи
Ставрополь
Сургут
Сыктывкар
Тараз
Ташкент
Токмак
Томск
Тында
Тюмень
Ульяновск
Усинск
Усть-Каменогорск
Уфа
Хабаровск
Ханты-Мансийск
Херсон
Челябинск
Чита
Шымкент
Экибастуз
Энергодар
Южно-Сахалинск
Якутск
Ваш город
Актобе
Войти
Запасные части к тракторам на одном сайте
+7 (932) 303-00-10
+7 (932) 303-00-10
г. Актобе, 41-й разъезд, д. 10а
Пн-Пт: 9:30-18:30 Cб-Вс: Выходной
Отправить заявку


Монтаж


/
с НДС 20%
Описание
Конструкция рамы или фундамента для монтажа дизеля должна обеспечивать возможность снятия картера, слив масла из картера, доступ к пробке кожуха маховика, слив воды из системы охлаждения, обслуживание фильтра грубой очистки топлива и проведение других операций технического обслуживания дизеля.

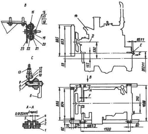
Габаритные и установочные размеры Д-160
Рис. 37. Габаритные и установочные размеры дизеля
А-ось коленчатого вала; В = 1732 мм-для дизеля с ЭССП

Габаритные и установочные размеры дизеля показаны на рис. 37. Перед установкой дизеля провести работы, указанные в разделе 2.3. Установить на дизель снятые составные части.

Установка двигателя Д-160 на раму
Рис. 38. Установка дизеля на раму
1-планка; 2, 3-прокладки; 4, 5-болты; 6-рычаг; 7-валик; 8, 12-шплинты; 9-рычаг тяги; 10-шпонка; 11-палец; 13-тяга; 14-дизель; 15, 20-трубопровод; 16-гайка; 17, 18-шайбы; 19-втулка; 21-прижим; 22-муфточка; 23-кронштейн; А-А-крепление дизеля к раме; В-крепление трубопроводов радиатора; С-установка деталей механизма включения; D-ось вентилятора; Е-валик рычагов механизма включения; F-зазор между прилегающими плоскостями передней опоры и кожуха шестерен распределения.

Деревянные заглушки и пробки, закрывающие отверстия дизеля, удалять перед установкой соответствующих сборочных единиц и деталей. Установка дизеля на раму показана на рис. 38.

При установке дизеля провести центрирование оси коленчатого вала относительно оси вала соединяемого агрегата. Смещение осей должно быть не более 0,3 мм, перекос не более 0,7 мм.

Схема центрирования двигателя Д-160
Рис. 39. Схема центрирования дизеля
1-маховик; 2-приспособление; 3-фланец; 4-вал агрегата. Разность замеров зазоров А-0,6 мах; В-0,7 мах

Схема центрирования дизеля показана на рис. 39.

Выставить болтами размеры А и В в верхней точке маховика 1-1,5 мм, сделать метку и, поворачивая маховик и фланец с приспособлениями, замерить размеры А и В в последующих трех положениях через каждые 90°. Разность замеров в четырех точках размера А допускается не более 0,6 мм, размера В - не более 0,7 мм.

Указанные размеры обеспечиваются установкой набора прокладок под опоры дизеля и перемещением дизеля вправо или влево. Максимальная толщина набора не более 18 мм. При толщине набора более 10 мм устанавливать толстые прокладки с приваркой нижних к раме и последующим изготовлением отверстий под болты. Перед сверлением отверстий под болты крепления передней опоры дизеля обеспечить зазор К (см. рис. 38) l,5±2,5 мммм между прилегающими плоскостями опоры и кожуха шестерен распределения смещением опоры в осевом направлении. Для крепления дизеля использовать болты с диаметром резьбы 20 мм, шагом 1,5 мм из материала с пределом прочности на разрыв не ниже 9,81 МПа (100 кгс/см2).

Отверстия в опорах и раме обрабатывать совместно до диаметра 20+0,13 мм и установить призонные болты 4 с диаметром стержня 20-0,73 мм. Затянуть болты.

При использовании дизеля в качестве силового агрегата без муфты сцепления дополнить массу маховика массой с моментом инерции не менее 2,7 кг/м² (27,7 кгс/см/сек²), жестко соединенной с маховиком и отбалансированной с точностью 0,015 Н/м (150 г/см).

Детали привода механизма включения установить, как показано на виде Е (см. рис. 38) и на рис. 25.

При выключенном положении шестерни механизма включения и вертикальном положении рукоятки 3 (см. рис. 25) установить рычаг 29 до касания в торец пятки механизма включения. Подсоединить тягу 18 к рычагу переходного мостика 28. Вращением регулировочной вилки тяги 18 добиться совмещения отверстий вилки и рычага 20, после чего укоротить тягу 18 на один оборот вилки. Соединить вилку с рычагом 20 пальцем и зашплинтовать.

Установить и закрепить радиатор. Отрегулировать равномерный зазор между лопастями вентилятора и отверстием диффузора, смещая диффузор относительно болтов его крепления. Наименьший радиальный зазор 5 мм.

Установить сигнализатор засоренности воздухоочистителя с деталями его крепления.

Установить выхлопную трубу и соединить ее с эжекционной трубой.

Установить топливный бак так, чтобы нижний уровень топлива был выше оси коленчатого вала дизеля не менее 400 мм. Конструкция бака должна обеспечивать забор топлива из бака на расстоянии 30-40 мм от дна. Бак должен быть оборудован краном для слива отстоя, краном для отключения бака от системы, фильтром для заправки топлива и крышкой с дренажным отверстием и фильтрующей набивкой. Для соединения бака с фильтром грубой очистки использовать трубу с внутренним диаметром 12 мм.

Трубку 18 (см. рис. 1) слива топлива от форсунок соединить с топливным баком или другой емкостью.

Нижний конец двуплечего рычага 13 (см. рис. 25) акселератора 15 соединить с рычагом регулятора топливного насоса тягой 25 так, чтобы при повороте рычага управления обеспечивалось плавное изменение подачи топлива от максимальной до минимальной, а также выключение подачи топлива.
Монтаж