Запасные части ЧТЗ Запасные части ЧТЗ
Актобе
Например:
Актобе
Алдан
или
Выбрать автоматически
Актобе
Алдан
Алматы
Алчевск
Архангельск
Астана
Астрахань
Атырау
Баку
Балашиха
Барнаул
Белгород
Бердянск
Бишкек
Владивосток
Владикавказ
Воркута
Воронеж
Горловка
Грозный
Донецк
Екатеринбург
Иваново
Ижевск
Иркутск
Казань
Калининград
Каменск-Уральский
Караганда
Каховка
Кемерово
Киров
Комсомольск-на-Амуре
Костанай
Краснодар
Красноярск
Красный луч
Ленск
Луганск
Магадан
Магнитогорск
Макеевка
Махачкала
Мелитополь
Минск
Мирный (Якутия)
Москва
Мурманск
Нерюнгри
Нижневартовск
Нижний Новгород
Нижний Тагил
Новая каховка
Новокузнецк
Новосибирск
Новый Уренгой
Норильск
Ноябрьск
Нур-Султан
Омск
Оренбург
Ош
Павлодар
Пермь
Петрозаводск
Петропавловск
Петропавловск-Камчатский
Псков
Ростов-на-Дону
Салехард
Самара
Санкт-Петербург
Саратов
Севастополь
Семей
Симферополь
Сочи
Ставрополь
Сургут
Сыктывкар
Тараз
Ташкент
Токмак
Томск
Тында
Тюмень
Ульяновск
Усинск
Усть-Каменогорск
Уфа
Хабаровск
Ханты-Мансийск
Херсон
Челябинск
Чита
Шымкент
Экибастуз
Энергодар
Южно-Сахалинск
Якутск
Ваш город
Актобе
Войти
Запасные части к тракторам на одном сайте
+7 (932) 303-00-10
+7 (932) 303-00-10
г. Актобе, 41-й разъезд, д. 10а
Пн-Пт: 9:30-18:30 Cб-Вс: Выходной
Отправить заявку


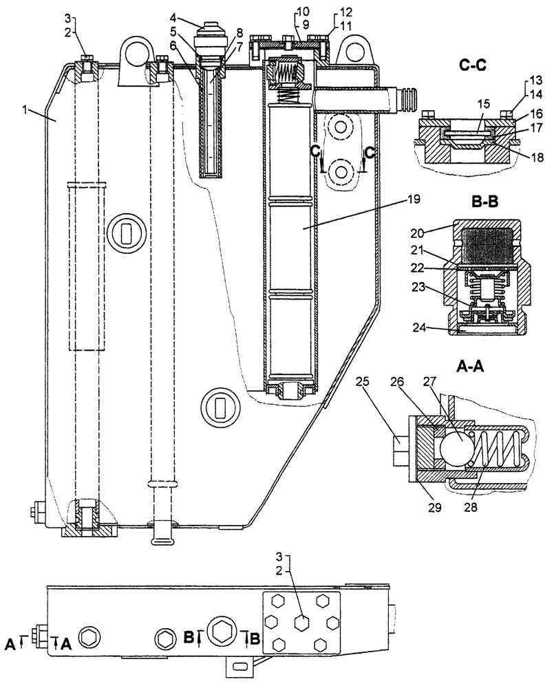
Бак гидравлической системы на Т10М / Б10М


/
с НДС 20%
Описание
Гидробак на Т10М
# Номер запчасти Наименование детали Кол-во в сборке
- 64-26-39СП Бак 1
1 64-26-40СП Бак 1
2 28458 Болт 3
3 40928 Кольцо 3
4 50-26-260СП Клапан 1
5 700-42-2631-03 Прокладка 1
6 261030СП Фильтр 1
7 64-26-116 Линейка 1
8 700-42-2631-02 Прокладка 2
9 64-26-113 Крышка 1
10 700-40-9232 Прокладка 1
11 28558 Болт 6
12 - Шайба 12 ОТ 65Г 09 6
13 - Болт M6-6g×14.88.35.019 6
14 - Шайба 6Т 65Г 09 6
15 25741 Стекло 2
16 50-26-429 Крышка 2
17 700-40-4695 Манжета 2
18 18-26-620 Отражатель 2
19 64-26-250СП Фильтр 1
20 50-26-344 1 Корпус 1
21 17466 1 Сетка 1
22 17465 1 Донышко 1
23 28-26-209СП 1 Клапан 1
24 50-26-345 1 Седло 1
25 700-37-2105 Пробка 1
26 748-20-1013 Седло 1
27 - Шарик Б 25,4-100 1
28 700-38-1933 Пружина 1
29 - Кольцо 30×36
1
1 Входит в Клапан 50-26-260СП
Бак гидравлической системы