Запасные части ЧТЗ Запасные части ЧТЗ
Актобе
Например:
Актобе
Алдан
или
Выбрать автоматически
Актобе
Алдан
Алматы
Алчевск
Архангельск
Астана
Астрахань
Атырау
Баку
Балашиха
Барнаул
Белгород
Бердянск
Бишкек
Владивосток
Владикавказ
Воркута
Воронеж
Горловка
Грозный
Донецк
Екатеринбург
Иваново
Ижевск
Иркутск
Казань
Калининград
Каменск-Уральский
Караганда
Каховка
Кемерово
Киров
Комсомольск-на-Амуре
Костанай
Краснодар
Красноярск
Красный луч
Ленск
Луганск
Магадан
Магнитогорск
Макеевка
Махачкала
Мелитополь
Минск
Мирный (Якутия)
Москва
Мурманск
Нерюнгри
Нижневартовск
Нижний Новгород
Нижний Тагил
Новая каховка
Новокузнецк
Новосибирск
Новый Уренгой
Норильск
Ноябрьск
Нур-Султан
Омск
Оренбург
Ош
Павлодар
Пермь
Петрозаводск
Петропавловск
Петропавловск-Камчатский
Псков
Ростов-на-Дону
Салехард
Самара
Санкт-Петербург
Саратов
Севастополь
Семей
Симферополь
Сочи
Ставрополь
Сургут
Сыктывкар
Тараз
Ташкент
Токмак
Томск
Тында
Тюмень
Ульяновск
Усинск
Усть-Каменогорск
Уфа
Хабаровск
Ханты-Мансийск
Херсон
Челябинск
Чита
Шымкент
Экибастуз
Энергодар
Южно-Сахалинск
Якутск
Ваш город
Актобе
Войти
Запасные части к тракторам на одном сайте
+7 (932) 303-00-10
+7 (932) 303-00-10
г. Актобе, 41-й разъезд, д. 10а
Пн-Пт: 9:30-18:30 Cб-Вс: Выходной
Отправить заявку


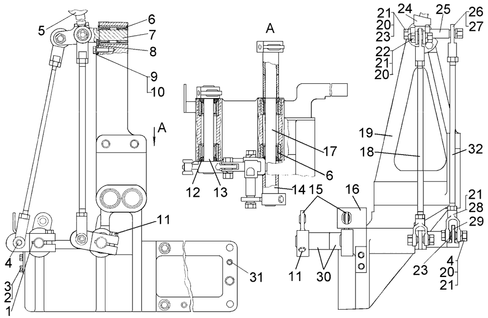
Колонка управления болотоходного трактора на Т10М / Б10М


/
с НДС 20%
Описание
Колонка управления болотоходного трактора Т10М
#Номер запчастиНаименование деталиКол-во в сборке
-64-12-274СПКолонка управления
(для болотоходного трактора)
1
1700-34-2021Шпонка сегментная4
2-Болт М6×16.58.0192
3-Шайба 6Т 65Г 092
4700-28-2483-01Болт2
513310СПРукоятка1
6-Подшипник
942/20
943/20
6
764-12-349Валик1
864-12-325Чекер1
9-Болт М8-6g×20.58.0191
10-Шайба 8Т 65Г 091
11-Болт М8×30.58.0194
12700-42-2503Кольцо4
1364-12-451Валик1
1464-12-398Втулка1
1564-12-252-01СПРычаг2
1664-12-454Кронштейн1
1764-12-452Валик1
1864-12-457-05Тяга1
1964-12-253СПКронштейн1
20-Шайба 10 ОТ 65Г 095
21-Гайка М10-7Н.6.0199
2204207Болт1
2331437Шайба6
2464-12-254СПРычаг1
2564-12-348Рычаг1
2664-12-230СПШарнир с левой резьбой2
27-Гайка М10 LH-6Н.8.45.0102
2824-74-98Вилка2
2964-12-252СПРычаг2
3064-13-47Втулка2
31700-32-2196Штифт2
3264-12-457-04Тяга1
Колонка управления болотоходного трактора